一、页面概述
主要通过该项功能进行养老(业务)咨询登记,功能包括有咨询登记、回访登记,其中咨询登记用于初次咨询的登记以及初次回访确定还需不需要二次回访,而回访登记则是在初次回访之后,确认还需要再次回访的登记。
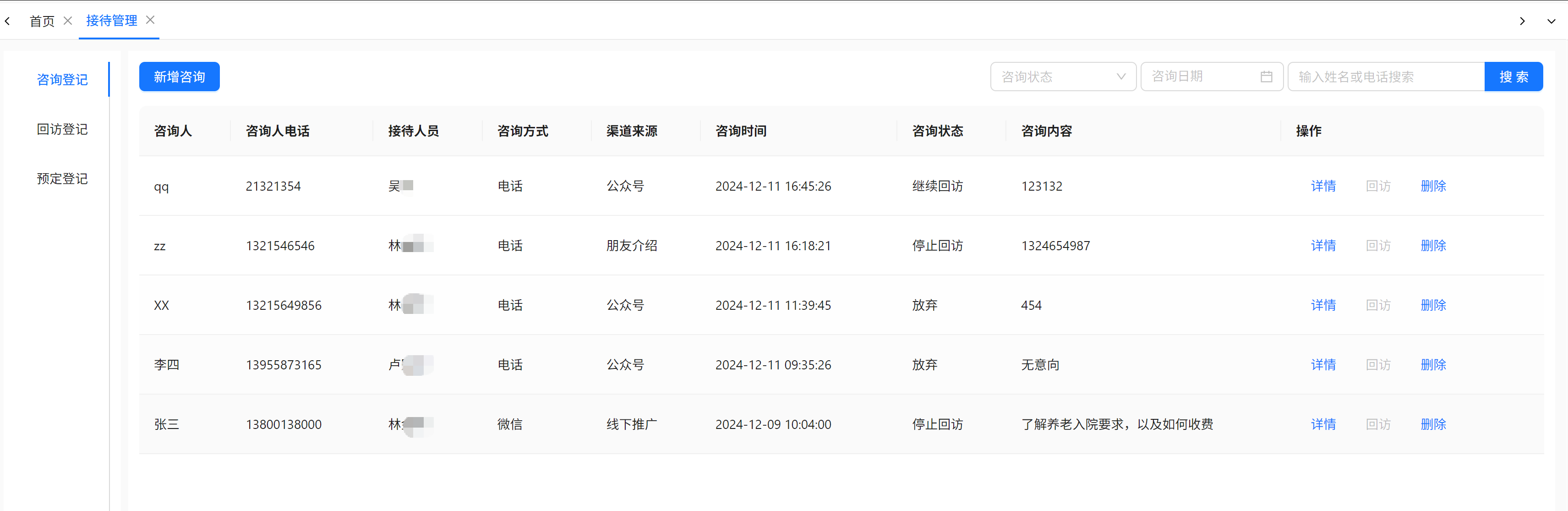
咨询登记

通过以上图片可以了解到,在左上解可以通过“新增咨询”进行新的咨询信息登记。

点击新增咨询后,在弹窗页面输入咨询信息,咨询方式可选择电话、现场、微信(后端可调整),接待人输入选择负责接待的工作人员,咨询内容按机构咨询内容标准整理填写进去即可。然后点击确认完成咨询登记。

在确认完成咨询登记之后会生成一条咨询数据,如上图,该数据可进行详情查看、初次回访、删除数据等操作。
初次回访
初次回访即是在咨询登记处进行第一次回访,回访也需要登记相关信息,如下图所示:

第一次回访后,初步确认该咨询(业务)是否已达成、还是需要继续回访或者是停止回访。选择已达成意味着该业务已完成,将终止回访任务,选择停止回访意味着该业务未达成,用户已表明拒绝接受服务,也可暂停回访;若选择了继续回访,在弹窗后点击确定后,咨询登记处的回访字样不再高亮(不可再操作),而在回访登记生成一条待回访数据,待工作人员进行下次回访。如下图:


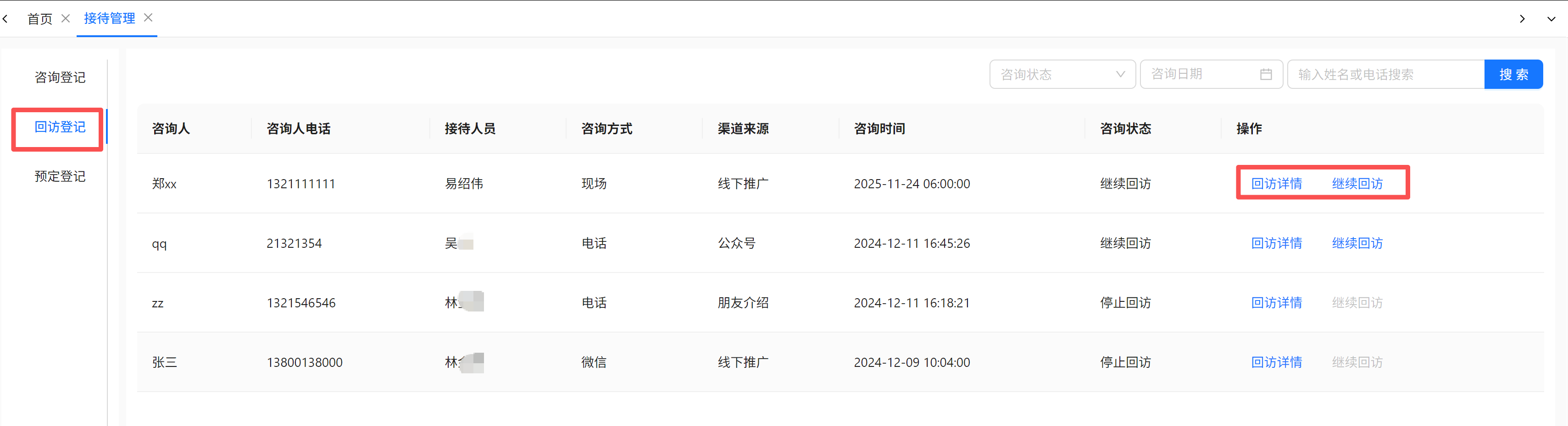
回访登记
在回访登记功能里面,可以看到经第一次回访后还待再次确认以及回访的目标数据。数据会有两种状态:继续回访和停止回访。两种状态皆可以查看回访详情。
继续回访:若状态为继续回访,说明工作人员再需要跟用户再次确认是否需要办理入住(业务)。
停止回访:说明用户当前是拒绝接受服务的,可暂时停止回访工作。
文档更新时间: 2025-11-27 16:15 作者:易绍伟