个人档案信息

如上图为个人档案信息,在全员档案跟在住档案(在住长者)均可以查看个人档案信息。在个人档案信息页面左侧为该人员的身份信息、头像,右侧包括有基本信息、在院服务、协议档案、健康信息、入院标准等。
一、基本信息
基本信息可以查看填写个人信息、家庭信息、个人钱包、我的订单、参保信息、我的动态、个人备注、推广记录
家庭信息:在家庭信息中完善该长者人员的家属信息,目前可通过新增、亲属扫码绑定两种添加方式。
新增:使用该种方式时,家属信息只做登记使用,便于工作人员查看家属信息
亲属扫码绑定:使用该种方式时,家属需要进行相关的系统注册(包括实名认证注册、非实名认证注册可查看人员注册信息录入),注册完成还需要进行亲属扫码绑定,点击亲属扫码绑定,在弹窗内输入该亲属的身份证号、亲属关系之后会显示一个二维码,亲属使用微信扫描二维码后即可完成家属绑定。
绑定的作用主要是为后续家属登记家属方的系统操作登记提供支持,只有完成注册才能登记家属端系统,在家属端系统可查看长者入住期间的费用情况、可在系统上登记申请探访、外出等操作。

二、个人钱包

在个人钱包功能项内有两项数值:预存钱包、押金钱包两项
预存钱包:预存钱包是指家属预存到长者账户下的钱包,该钱包内的金额可用于支付在线商城的月度订单、普通订单费用等。
押金钱包:押金钱包是指长者入住时须缴纳的押金金额,押金金额不作任务订单费用的扣除,只会在特殊情况下进行人工操作扣除或出院时的费用抵扣。
同时在个人钱包内还有一项功能为去充值(预存管理功能项)功能。通过该项功能可以对预存钱包跟押金钱包进行额度充值。
三、预存管理

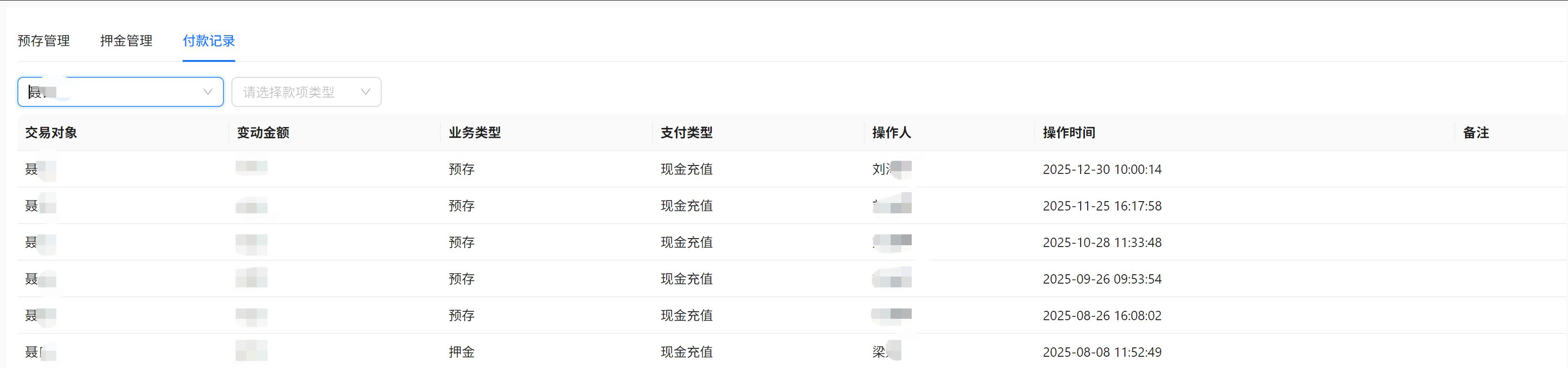
在该功能下主要包括预存管理、押金管理、付款记录功能项。
在预存管理下可以对长者进行费用预存,在搜索栏内输入并选择了相应长者后,在右侧预存区内输入金额,选择相应的支付方式(包括微信支付扫码支或出示收款码支付、以及现金支付)。支付完成后可以在预存记录内查看到该长者的预存记录,并且当支付方式为现金支付时,可在预存记录内操作退款。

在押金管理项下进行押金充值,也是与预存管理类型的操作。

在付款记录项下,可以查看预存跟押金付款记录。
四、我的订单

在我的订单里面可以看到一有两种订单类型:月度订单和普通订单
月度订单:即是在在线商城开单时勾选了月度账单项之后,会将该账单生成一个费用模板,每个月会按这个费用模板进行月度费用的订单生成,具体操作可以查看长者入住办理-在线商城部分。通过上图我们可了解到订单数据内有订单月份、相关的金额数据、订单的状态(分为待支付、已支付、结算确认中、清缴尾款)。
需要注意有以下几个问题
1.订单的生成:在开单时,如果勾选了月度订单,则会