1 前置机接口配置

特别说明:
1、数据获取日期:根据就诊时间判断,在这个日期之后的数据都会上传到前置机;
2、所在地区编码:有些场景需要填写地区编号,点击【选择】,搜索一个医院所在的地区,精确到乡镇。
3、定时推送:开始后,每天18点,22点会推送数据到前置机,如果校验失败,则不会推送。
4、 如果报以下提示,就是这所在地区编码与名称没有维护好。
2 上传数据统计

负责人就当每天固定时间(比如下午4点)登录系统查询,如果发现有校验失败的数据,需要马上立即整改后,重新校验,直到通过。
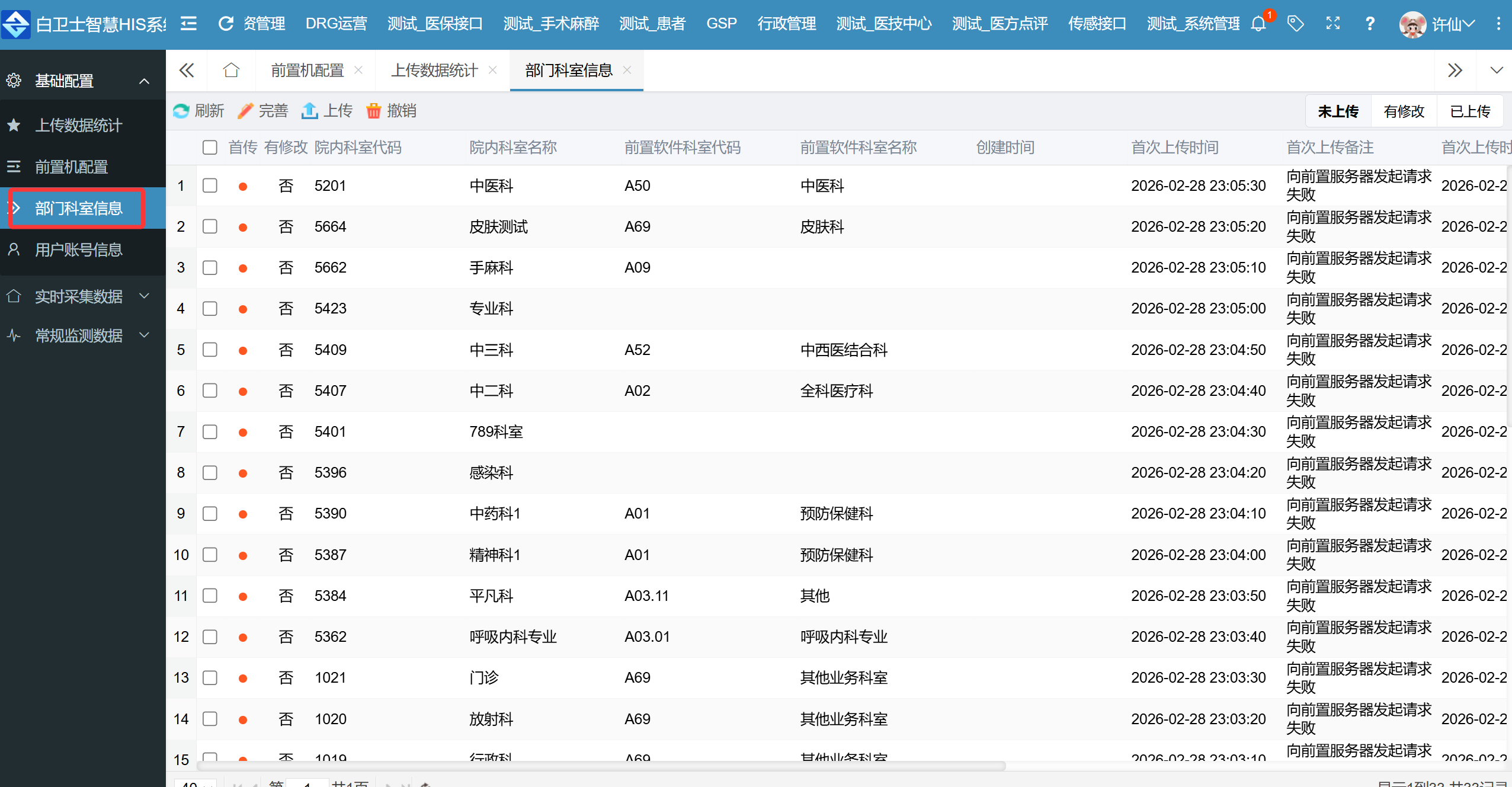
3 科室部门信息

在系统上添加部门后,会自动推送,也可手动推送。
4 用户账号信息

在系统上添加账号后,会自动推送,也可手动推送。
5 实时采集数据
这些数据需要实时上传,如果有错误,会上传不成功。
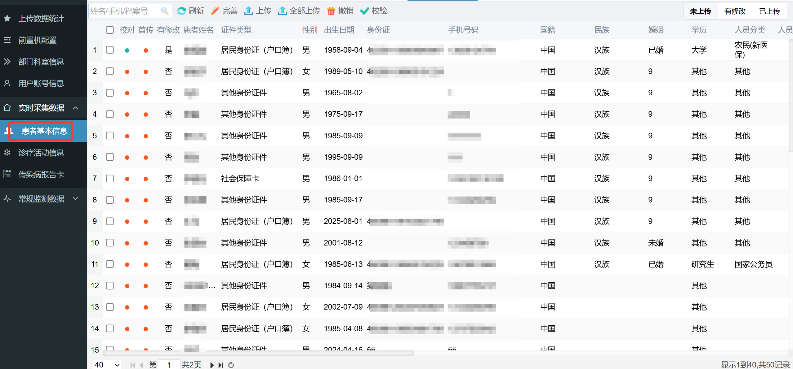
5.1 患者基本信息

1、先点【校验】,根据校验结果整改数据。鼠标移动红点处,即可查看推送结果。
2、如果不选择记录,则会全部校验,校验需要时间,会在右下角提醒,当看到提醒时,点刷新按钮,看校验结果。
3、无名氏的证件类型,选择【其他】,号码统一写【无】;
4、如校验不通过数据,点【完善】按钮,完善数据。
5.2 其他模块数据
同上,都是先校验,根据校验结果整改数据,再次校验,通过后再上传。也可以等待系统自动推送。
6 其他问题
前置机平台的问题,请到相差群里问。HIS系统工程师只负责对接数据,无法查询前置机数据。
文档更新时间: 2026-04-28 19:14 作者:admin